Revista de Investigaciones Universidad del Quindío,

34(S3), 222-231; 2022.

ISSN: 1794-631X e-ISSN: 2500-5782


Esta obra está bajo una licencia Creative Commons Atribución-NoComercial-SinDerivadas 4.0 Internacional.


DESIGNING A COMBINED COULTER FOR EXEMPLARY SOWING OF CEREALS


DISEÑO DE UNA CAJA COMBINADA PARA UNA SIEMBRA EJEMPLAR DE CEREALES



Alexander S. Novitsky1 *; Andrey V. Bondarev2 ; Alexander A. Dobritsky3 ;

Igor Yu. Tyurin4 ; Yuri V. Komarov5.


1. Belgorod State Agricultural University named after V. Gorin, Russia. novickij_as@bsaa.edu.ru

2. Belgorod State Agricultural University named after V. Gorin, Russia. bondarev_av@bsaa.edu.ru

3. Belgorod State Agricultural University named after V. Gorin, Russia. dobrickiy_aa@bsaa.edu.ru

4. Saratov State University of Genetics, Biotechnology and Engineering named after N.I. Vavilov, Russia.

ig.tyurin@yandex.ru

5. Saratov State University of Genetics, Biotechnology and Engineering named after N.I. Vavilov, Russia.

komarovy.v@yandex.ru


*corresponding author: Alexander S. Novitsky, email: novickij_as@bsaa.edu.ru



ABSTRACT


Agrochemical science and progressive practice have developed requirements for sowing crops and, in particular, grain. They will place the seeds in a moisture-proof layer to a predetermined depth on the prepared bed. This study aims to investigate designing a combined colter for exemplary sowing of cereals. To that end, to avoid these shortcomings in the technology of grain crops sowing, a technical solution in the form of sowing sections is proposed. Based on the results, the principal amount of fertilizers should be applied locally, in the soil near the seeds, below the sowing level by 3...7 cm. The soil above the seeds should be compacted with a density of 1.15...1.25 g/cm3. Analysis of the designs of grain seeders and the proposed technical solutions for the combined sowing showed that there are no devices that meet all the requirements. It provides loosening of the soil in the area of fertilizer and seed placement, sows fertilizer to the bottom of the furrow, covers it with soil, forms a compacted bed under the seeds, sows the seeds on the compacted bed, covers them with soil and compacts it over the seeds.


Keywords: seeding; seeds; fertilizers; combined; combination.


RESUMEN


La ciencia agroquímica y la práctica progresiva han desarrollado requisitos para la siembra de cultivos y, en particular, de cereales. Colocarán las semillas en una capa a prueba de humedad a una profundidad predeterminada en la cama preparada. Este estudio tiene como objetivo investigar el diseño de un cabezal combinado para la siembra ejemplar de cereales. Por ello, para evitar estas carencias en la tecnología de siembra de cereales, se propone una solución técnica en forma de secciones de siembra. Según los resultados, la cantidad principal de fertilizantes debe aplicarse localmente, en el suelo cerca de las semillas, por debajo del nivel de siembra de 3 a 7 cm. El suelo sobre las semillas debe compactarse con una densidad de 1,15...1,25 g/cm3. El análisis de los diseños de sembradoras de granos y las soluciones técnicas propuestas para la siembra combinada demostraron que no existen dispositivos que cumplan con todos los requerimientos. Proporciona aflojamiento del suelo en el área de colocación de fertilizantes y semillas, siembra fertilizante hasta el fondo del surco, lo cubre con tierra, forma una cama compactada debajo de las semillas, siembra las semillas en la cama compactada, las cubre con tierra y lo compacta sobre las semillas.


Palabras clave:
siembra; semillas; fertilizantes; conjunto; combinación.


INTRODUCTION


It is considered that more than 50% of crop yield increase from the total number of measures is accounted for by fertilization. Known methods of application: surface and subsurface, solid and local, separate and seedbed (Liang et al., 2014; Debela et al., 2021).


It is proved that preference should be given to local, intra soil, priposevny application of fertilizers. But also in the allocated combination of receptions there is a number of options which are subject to further studying for the purpose of receiving the maximum increase of a harvest (Silva et al., 2015; Moradzadeh et al., 2021).


The following options of intra soil, local, priposevny application of fertilizers are possible: on the one hand from a row of seeds at the level of crops, from both parties of a row at the level of crops, the same options, but there is lower than the level of crops, below a row of the seeds placed on the sowing bed created over a row of fertilizers. The last two options for combined sowing are considered the most effective. But, as an analysis of technical decisions shows on the combined sowing of grain-crops (Chen, 2006; Tatli et al., 2021), effective developments from position of technological reliability of process of sowing - no.


MATERIALS AND METHODS


In order to avoid these shortcomings in the technology of grain crops sowing, the proposed technical solution in the form of sowing sections is developed (Zheng et al., 2016; Zhao et al., 2019).


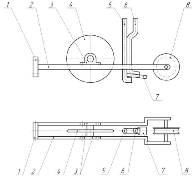
Besides, the constructive and technological scheme of the combined soshnik of the zernotukovy seeder (Devkota et al., 2013; Kostencki et al., 2021) providing introduction of the main fertilizer and seeds in one vertical plane is developed, and fertilizers from seeds are divided by a layer of the condensed soil of the required thickness (Fig. 1).


The combined opener consists of a fastening assembly 1, to which the frame 2 is rigidly attached, with supporting bearings 3 mounted on it with a disk knife 4. Behind the disk knife 4 a fertilizer tube 5 is rigidly attached to the frame 2, the lower end of which is bent back and is located on the level bottom edge of a circular knife 4.


Seed tube 6 is installed behind fertilizer tube 5, the lower end is bent back at an angle of less than 90° and is located above the bent end of the fertilizer tube 5, with a diamond-shaped soil compactor 7 rigidly attached to the lower part of the bent end of the seed tube 6.


Figure. 1. Structurally-technological chart of combined coulter: 1-mounting unit; 2-frame; 3-bearing; 4-disc knife; 5-tube for fertilizers; 6-seed tube; 7- soil compactor; 8- rink.


On the end of frame 2, a skating rink is set 8, the vault of that is executed as the chamfer turned by a bulge to the axis of skating rink.


In the place of a bend of a tube for fertilizers 5 the tube for seeds 6 by means of hinge 9 is attached to a tube for fertilizers, and when lowering of the combined soshnik into position the disk knife 4 plunges into the soil and at the movement forms a furrow in the form of an isosceles triangle with the top turned down. On the tube for fertilizers 5 which is rigidly attached to a frame 2 behind a disk knife 4, mineral fertilizers come to the lower part formed by a disk knife 4 furrows.


The soil descending from furrow sides closes mineral fertilizers as the lower end of a tube for seeds 6 is unbent back on a corner smaller 90° and is located over the lower end of a tube for fertilizers 5, sealant of soil 7 squeezes the soil which appeared over mineral fertilizers, creating a sowing bed for seeds. Seeds that come out of the bent back of the lower end of the seed tube 6 are placed on the seedbed and are covered with loosened soil of the upper layers, which in turn is compacted by the roller 8, forming a convex shape of the furrow surface, which reduces evaporation of moisture. In the upper part, the seed tube 6 is connected to the fertilizer tube 5 by the adjustment unit of the angle of inclination of the soil compactor 7.


The required size of consolidation of the soil of a sowing bed is reached by change of a tilt angle of sealant of soil 7.


RESULTS AND DISCUSSION


The use of a combined coulter allows you to:


-Reduce the cost of fuel for sowing grain, as the soil is loosened only in the area of placement of fertilizers and seeds;

-To increase the yield, as fertilizers are applied locally, below the level of seed placement.


One of the energy-consuming constructive elements of the considered sowing sections is the disk knife. Let's determine forces operating on it.


Note that the working area of the disk is the front half of its lower part, located in the soil.

Soil resistance occurs mainly at the cutting edge (Fig. 2) along the arc of the АС and the sides of the disk in the area of the left and right halves of the segments ADC.


Figure. 2. Diagram of forces acting on the central disk from the soil


It is considered that the resistance force to the disk is applied in the middle part of the circular arc located in the soil, i.e. at point B and its vector passes through the axis of rotation of the disk O.


The horizontal component of the resultant force can be found if the vertical component and the angle between the resultant force vector Rв and the vertical are known.

from where (1)


The vertical component obviously depends on the depth of immersion of the disc in the soil h and the operating speed :


(2)


The dependence (2) should be established experimentally.


Let's define a corner γ. Triangles of AOB and DCA are formed by mutually perpendicular parties therefore corners of AOB and DCA are equal to a corner γ.


From the ADC triangle we find the hypotenuse of the AС: or


Then the party of АВ of a triangle of АОВ is equal:


(3)


From the same triangle we find АВ value:


or (4)


Then or From where


Therefore, the angle γ is equal to:


(5)


Then the value of the horizontal component of the disc resistance on the soil side is:


(6)


Thus, the horizontal component of the resistance force of the central disk depends on its radius r, the depth of tillage h, its condition and the working speed of the movement of the unit.


Using the setup developed and manufactured experimentally, the resistance to immersion of a flat disk into the soil was determined on the condition that the soil hardness was 43.1 N/cm2, the radius of the disk was 56 cm, its thickness was 0.5 cm, and the travel speed was 3.33 m/s. She submits to dependence:


(7)


For immersing a disk to a depth of 7 cm, an effort equal to 485 N is required, and the horizontal component (frontal resistance) will be equal to 196 N.


One of important parameters of the combined vomer are the geometrical sizes of sealant of a soil.

Agrochemical science has proved that when sowing, the seeds should be laid on a compacted seed bed with a density of 1.27...1.29 g/cm3 and a hardness of 0.35...0.40 MPa.


In traditional technologies of cultivation of grain crops the soil bed for seeds is prepared at preseeding processing of the soil steam cultivators on depth of seal of seeds.

The proposed combined coulter provides for a soil compaction, it is necessary to substantiate its basic parameters (Fig. 3).


At the beginning, we denote a number of conditions: the depth of immersion of the disc into the soil is regulated by changing the distance between the frame of the drill section and the soil surface, the depth of sowing is similarly regulated, only the block “fertilizer tube-seed tube” moves in the sleeve rigidly attached to the frame of the section , moreover, the seed tube is hinged to the fertilizer tube at a selected distance from its end, those. The distance between the seed row and the mineral fertilizers will be kept constant.


We choose the shape of the soil compactor in the form of a rectangular plate rigidly attached to the bottom of the seed tube, and the width of the plate should not exceed the width of the furrow at the location of the seed (Fig. 3).


Figure. 3. Scheme of operation of the combined coulter: 1 - fertilizer tube; 2 - seed tube; 3 - soil compactor.


Soil compaction over fertilizers is carried out by tilting the plate downwards at a certain angle, which depends on the amount of compaction of the soil and the length of the horizontal part of the seed tube.


It is advisable to find the length of the horizontal part of the seed tube experimentally, since this parameter depends on a number of random factors, basing the length of the horizontal portion of the seed tube on which there is no accumulation of seeds during movement after exiting the seeder unit.


Let's define cross sectional dimension of sealant of a soil for the accepted conditions: cross sectional dimension of the end of sealant is equal to furrow width after consolidation of the soil, and the size of consolidation is set.


Note that the sowing depth, implemented by the proposed combined coulter, is a value that represents the distance from the soil surface to the rear end of the compactor:


(8)


where и - depth of sowing, respectively, the final, designated, and the value of soil compaction, m.


Then the width of the rear end of the soil compactor will be equal to:


(9)


from where


(10)


where - the width of the rear end of the soil compactor, m;


- depth of immersion of a disk knife, m;

- angle of shear of the soil, degrees.


The maximum angle of inclination of the soil compactor to the horizon will be found as:


(11)


where - is the length of the soil compactor, m;

- the angle of inclination of the soil compactor to the horizon, degrees.


From where


(12)


Therefore, to determine the parameters of the soil compactor и , it is necessary to know:


- length of the horizontal site of a seed tube ;

- linear size of soil compactor ;

- angle of shear of the soil, degrees .


Considering the shape of the furrow for fertilizers and seeds in cross section and the change in its dimensions in depth, we choose the shape of the soil compaction close to the trapezium, the smaller base of which is directed backwards. Since the soil compactor for seeds is rigidly attached to the end of the seed tube bent back, it is advisable to take its length to be equal to the length of the bent end (Liang et al., 2014), that is:


(13)


This will ensure the unobstructed exit of seeds from the seed tube (without their accumulation) and simultaneous compaction of the soil.


It is necessary to determine the range of change of the angle of inclination of the soil compaction that is, it is necessary to determine the maximum angle of inclination of the soil compaction then the range of its regulation D will be equal to:


(14)


To determine it is necessary to set the maximum value of soil compaction , then according according to (12) when we get:


(15)


The width of the rear end of the soil compactor will be found from the relation (10) for the angle of spallation of the soil equal to 26˚ (Szczepaniak et al., 2015; Chittapun et al., 2018) (the turbodisk with direct entry into the soil) and the sowing depth :


(16)


Therefore, the parameters of the soil compactor will be equal to:


-Length ;

-Rear end width ;;

-Maximum deflection angle of the soil compactor =12.8°.


The presented materials are the basis for further improvement of sowing machines from the position of rational use of resources: fuel, mineral fertilizers and soil moisture.


CONCLUSIONS


Agrochemical science and best practice proved the feasibility of the implementation of the combined sowing of agricultural crops, when simultaneously with the laying of seeds on the compacted bed the main fertilizer is put aside and below the level of sowing with simultaneous compaction of the soil over the seeds. More effective is the placement of seeds and fertilizers in the same vertical plane at different levels according to the scheme: fertilizer, soil layer, seeds, soil.


A constructive-technological scheme of the combined opener has been developed, ensuring the placement of fertilizers and seeds that meet the given agrotechnical requirements.


The agroeconomic effect of the application of the proposed combined opener is achieved by:


-Loosening a limited amount of soil in the area of fertilizer and seed placement;

-Combining a number of technological operations in one pass of the unit;

-Local intra soil application of the main fertilizer;

-Oriented placement of fertilizer relative to the root system of plants.


REFERENCES


Chen, J. H. (2006, October). The combined use of chemical and organic fertilizers and/or biofertilizer for crop growth and soil fertility. In International workshop on sustained management of the soil-rhizosphere system for efficient crop production and fertilizer use (Vol. 16, No. 20, pp. 1-11). Land Development Department Bangkok Thailand.

Chittapun, S., Limbipichai, S., Amnuaysin, N., Boonkerd, R., & Charoensook, M. (2018). Effects of using cyanobacteria and fertilizer on growth and yield of rice, Pathum Thani I: a pot experiment. Journal of Applied Phycology, 30(1), 79-85.

Debela, C., Tana, T., & Wogi, L. (2021). Effect of Rhizobium Inoculation, NPS Fertilizer and Vermicompost on Nodulation and Yield of Soybean (Glycine max (L). Merrill) at Bako, Western Ethiopia. J. Chem. Environ. Biol. Eng, 5, 49-61.

Devkota, M., Martius, C., Lamers, J. P. A., Sayre, K. D., Devkota, K. P., Gupta, R. K., ... & Vlek, P. L. (2013). Combining permanent beds and residue retention with nitrogen fertilization improves crop yields and water productivity in irrigated arid lands under cotton, wheat and maize. Field Crops Research, 149, 105-114.

Kostencki, P., Stawicki, T., & Królicka, A. (2021). The Evaluation of the Effectiveness of Reinforcement by Cemented-Carbide Plates in Two Design Variants of the Chisels Intended for Cultivation–Sowing Aggregates. Materials, 14(4), 1020.

Liang, F., Wang, D., You, Y., Wang, G., Yu, Y., Zhang, X., & Fu, Z. (2014). The experimental study on machinery and agronomic of the combine machine of root-cutter with fertilization and reseeding for grassland. In 2014 Montreal, Quebec Canada July 13–July 16, 2014 (p. 1). American Society of Agricultural and Biological Engineers.

Moradzadeh, S., Siavash Moghaddam, S., Rahimi, A., Pourakbar, L., & Sayyed, R. Z. (2021). Combined bio-chemical fertilizers ameliorate agro-biochemical attributes of black cumin (Nigella sativa L.). Scientific Reports, 11(1), 1-16.

Silva, R. R., Oliveira, D. R., da Rocha, G. P., & Vieira, D. L. (2015). Direct seeding of Brazilian savanna trees: effects of plant cover and fertilization on seedling establishment and growth. Restoration Ecology, 23(4), 393-401.

Szczepaniak, M., Rogacki, R., Dudziński, P., & Olejniczak, M. (2015). Application of the concurrent designing in virtual model development of a new generation of cereal drill construction. Journal of Research and Applications in Agricultural Engineering, 60(1).

Tatli, S., Mirzaee-Ghaleh, E., Rabbani, H., Karami, H., & Wilson, A. D. (2021). Rapid detection of urea fertilizer effects on voc emissions from cucumber fruits using a MOS E-Nose Sensor Array. Agronomy, 12(1), 35.

Zhao, J., Chen, X., Wei, H. X., Lv, J., Chen, C., Liu, X. Y., ... & Jia, L. M. (2019). Nutrient uptake and utilization in Prince Rupprecht’s larch (Larix principis-rupprechtii Mayr.) seedlings exposed to a combination of light-emitting diode spectra and exponential fertilization. Soil Science and Plant Nutrition, 65(4), 358-368.

Zheng, W., Zhang, M., Liu, Z., Zhou, H., Lu, H., Zhang, W., ... & Chen, B. (2016). Combining controlled-release urea and normal urea to improve the nitrogen use efficiency and yield under wheat-maize double cropping system. Field Crops Research, 197, 52-62.